服务热线
88910291
一、系统结构
自动配料系统是一个通过称重加料、配方控制、混合均化、物料输送等流程,采用微电脑控制和数据管理为一体的综合自动化系统,采用三菱或西门子系列PLC和工控微机组建高性能的控制平台。对于设计一套用于生产控制的自动化系统来说,必须达到具有稳定而可靠的运行、简单而实用操作、以及优越的性价比。
二、自动配料系统的组成
1)控制部分:上位机采用工业控制微机,以三菱或西门子系列PLC通迅模块以及开关量输入输出模块,以及手动/自动控制切换开关,手控按钮和指示灯等均装置在一体化的控制机柜中,方便操作;
2)软件部分:根据配料系统的基本要求、用户的实际需求结合量身定制;
3)称重部分:采用高精度称重模块,结合称重控制仪表组合;
4)喂料部分:采用气动阀控制、螺杆变频的方式进行投、放料控制;
5)混合部分:按物料混合及客户要求配置相关混合设备;
6)输送部分:采用螺旋送料方式或气力方式负责送料到指定位置
三、自动配料系统工作流程
称重料斗装置了称重传感器,并连接输入到工控机。本系统设计停机时对每套称重料斗进行人工检零,可监视称重料斗归零位是否正常;在连续配料运行过程中进行自动检零,可修正称重料斗的零位变动,确保计量准确度。
操作者点击配料运行过程开始后,PLC控制第一种物料加料的气动阀、螺杆开启,该种物料徐徐加入称重料斗,计算机实时监测称重计量传感器传送过来的信号,与配方设定的目标值进行比较,当达到设定的配方目标值后PLC控制输出被断开,第一种物料加料气动阀、螺杆关闭,待稳定后测得称重料斗和已加入物料的总重,并以此值作为第二种物料加料前的零位。紧接着开始第二种物料的加料过程,如此反复至第二、第三、……,直至全部物料加料完毕。
加料过程结束并满足预先设定的全部放料条件,放料过程开始。放料气动阀开,混合料在重力作用下自然流出。系统实时监测称重料斗计量传感器传送过来的信号,当检测到称重料斗总重量恢复到初始零位时,放料阀关闭,放料过程结束,进入混合流程。操作者可预先设定每次投料开启的顺序。系统可记录运种中的罐号,每一种原料的实际加料量,与配方设定目标值的偏差,加料起止时分和加料时间,以及放料起止时分和放料时间等运行数据。通过上位机应用程序,可查询和打印系统运行的原始数据和统计报表。
四、系统控制
本设备采用自动化产品控制。采用德国SIEMENS可编程序控制器(PLC)和触摸屏(HMI)进行逻辑控制;知名品牌低压电器;台达变频器;以及瑞士METTLER?TOLEDO称重传感器等。产品远销各地,众多客户给予了很高的赞誉。
整个系统的设计以客户为导向,配置合理,操作人性化。让你在使用高科技产品的同时,给您工作带来了愉悦和便捷的满足。
五、使用范围
该机主要适用于塑料、橡胶、食品、化工、建材、锂电等多种行业,对小颗粒及粉状多种物料按预定比例配方进行的计重配料。
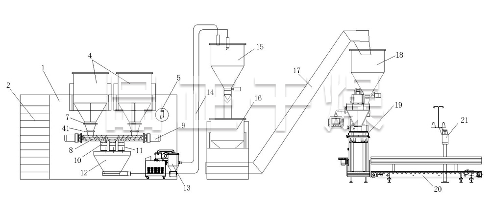
六、流程图

我司提供免费技术咨询、免费带料试验、免费现场设计、设备终身保修。
食品行业 | 制药行业 | 农药行业 |
河南莲花食品健康股份有限公司 | 广州白云山医药集团股份有限公司白云山化学制药厂 | 山东鑫星农药有限公司 |
山东腾花味精有限公司 | 江苏诺泰生物制药股份有限公司 | 安徽宇润农化有限公司 |
梅花集团有限公司 | 云南大唐汉方制药股份有限公司 | 山东百农思达生物科技有限公司 |
贵阳南明老干妈风味食品有限责任公司 | 湖北康恩萃药业有限公司 | 瑞隆化工(宿州)有限公司 |
内蒙古利诚实业有限公司 | 武汉麦鑫利药业有限公司 | 惠州市弘创农业科技有限公司 |
广州梧州甜蜜家蜂业有限公司 | 武汉真福医药股份有限公司 | 浙江蓝美农业有限公司 |
广州市恒裕香料有限公司 | 安阳中帅医药有限责任公司 | |
湖南长康实业有限责任公司 | 浙江诚达药业股份有限公司 |